您现在的位置 :首页 > 曝光台

“水牛配方、皇氏水牛”竟是商标 !成了欺骗消费者的合法外衣?

时间:2025-09-22 11:04:32作者:来源:乳业财经

近期行业内一项调查显示,随机统计的20款同时标注“水牛”“纯牛奶”字样的产品中无一使用100%生水牛乳为原料,均为水牛乳和其他牛乳的混合。

虽然产品并非纯水牛乳但有不少都在进行“水牛奶”的暗示,其“吃甘蔗长大”“冰淇淋口感”“原生营养”等卖点也无一不在衬托其稀缺和高端属性,这种模糊宣传更容易产生消费误导,不仅可能损害消费者知情权,背后还存在行业标准与监管缺失、企业商标滥用现象。


图片

拒绝透露成分信息

消费者知情权何在?

在电商平台中能够看到不少品牌推出水牛奶产品,包括皇氏、百菲、壮牛、爷爷的农场、隔壁刘奶奶、火星罗卜、亿小瓶、认养水牛奶等,查看相关产品配料表能够再次印证水牛奶无一纯正的结论,几乎都是生牛乳和生水牛乳的组合。


“水牛配方、皇氏水牛”竟是商标 !成了欺骗消费者的合法外衣?

部分品牌配料表

不仅水牛奶的奶源并不纯正,生水牛乳原料的具体添加量也不够明确,此次调查事件中仅有9家商家告知了水牛乳大致添加比例,还有商家以“商业机密”为由拒绝披露相关信息。

具体添加量不明确可能是品牌想要维护自身产品高品质形象,在健康饮食趋势不断深入的当下品质与营养无疑是影响消费决策的重要因素,尤其乳制品还是日常营养补充的常见选择,水牛奶又自带高蛋白、营养丰富等卖点,混合水牛奶凭借模糊配料贴近纯水牛奶,“顺理成章”地宣称其高营养、好品质来提升产品吸引力。

但对于消费市场来说,水牛奶品牌此类宣传行为就掺杂了较多“水分”,拒绝披露具体成分侵犯了消费者基本知情权,一经曝光和发酵还容易引发市场对品类的质疑进而影响消费信任,阻碍行业健康发展。

依据《食品安全国家标准 预包装食品标签通则》(GB 7718),在食品标签上特别强调添加的应在配料表中明示或附加文字说明的形式标示该配料或成分的添加量或在成品中的含量;若在食品名称中提及的应标示其相关配料或成分的添加量或在成品中的含量。水牛奶被商家宣传为“高营养”“稀缺”的特色产品,在名称中也有所体现,按照规定标注其添加比例是商家的法定义务。

然而现实却是大部分商家无视了这一规定,面对这一不规范情况监管部门还应加大对水牛奶市场的监管力度,严格审查产品标签,只有商家诚信经营、市场加强监管,多方共同努力才有望推动水牛奶市场走向“正轨”。


图片

产品真实性及宣传误导,

真实力还是假噱头?

近年来水牛奶凭借“高端”“稀缺”的标签在乳制品市场异军突起,其售价往往能够达到普通牛奶2-3倍,不过大部分水牛奶并非纯正水牛奶源,产品所宣传的营养价值和花样卖点也存在一些疑点。


“水牛配方、皇氏水牛”竟是商标 !成了欺骗消费者的合法外衣?

某品牌宣传甘蔗叶、菠萝皮喂养

大部分水牛奶都会在宣传中强调好营养和好口感,例如某品牌宣称“水牛吃甘蔗、菠萝长大,自带植物清甜”“天然乳酪口感”“滴滴珍贵、营养充沛”等,另一品牌也宣称水牛奶“天然好喝、天然甜”“原生优质蛋白、天然营养高钙”。

网络上有不少研究数据指出水牛奶确实具备营养价值,通常纯水牛奶蛋白质含量在3.8g/100ml以上,普通牛奶约为3.2g/100ml,水牛奶钙含量通常超130mg/100ml,氨基酸、铁、锌等含量也更高。

但在大多水牛奶为混合奶源的情况下营养成分可能会受到一定影响,笔者分别查询了市场上三款纯水牛奶、混合水牛奶和全脂纯牛奶,蛋白质含量分别为4.5g/100ml、3.8g/100ml、3.2g/100ml,钙含量分别为180mg/100ml、130mg/100ml、100mg/100ml,可见市场中常见的混合水牛奶营养优势并不突出。


“水牛配方、皇氏水牛”竟是商标 !成了欺骗消费者的合法外衣?

常见的混合水牛奶营养优势并不突出

当然市场中也有不少水牛奶产品强化了其蛋白质含量,能够达到每百毫升4.0g、5.0g,但乳品市场经过长期发展在各大品牌的内卷下,已经有不少普通牛奶的蛋白质含量也能达到4.0g/100g,同时还存在娟姗奶、A2奶、有机奶等其他小众奶源的竞争,相比之下水牛奶的竞争优势被进一步削弱。

乳品口感也与其中的蛋白质和脂肪含量息息相关,通常乳脂和乳蛋白含量更高的牛奶在口感上也更加醇厚,奶牛饲料也会对牛奶口感造成影响,所以不少水牛奶宣称的“吃甘蔗长大自然清甜”“冰淇淋般丝滑”“浓厚乳酪口感”具备一定支撑,但水牛奶本质上也是牛奶,而且对于口味口感的判断具有较强主观性,品牌对于“高营养、好口感”的宣传需辩证看待,也可能存在夸大嫌疑。


图片

行业标准与监管缺失,

企业“钻空子”成风

水牛奶行业产品品质不一、“文字游戏”盛行背后是缺乏行业标准与严格监管的尴尬现状,目前市场中部分水牛奶执行GB 25190《食品安全国家标准 灭菌乳》,部分产品执行GB 19301《食品安全国家标准 生乳》,还有不少执行企业标准,以及部分产品除了生牛乳和水牛乳还在配料中添加了水、白砂糖和食品添加剂成分执行调制乳标准。

根据《灭菌乳》国标,仅仅是将超高温灭菌乳定义为以生牛(羊)乳为原料,并未对水牛乳、牦牛乳等细分奶源做出规范,《生乳》定义为从符合国家有关要求的健康奶畜乳房中挤出的无任何成分改变的常乳

从现行有效的水牛乳相关标准来看,主要包括DBS45/ 037-2024《食品安全地方标准 灭菌水牛乳》、DBS45/ 011-2024《食品安全地方标准 生水牛乳》,均是由广西壮族自治区卫生健康委员会发布的地方标准,并不具备强制性,市场中真正执行此类标准的纯水牛奶产品也比较少。

缺乏明确统一的国家标准给了部分企业更多“操作空间”,在奶源控制方面部分企业在产品中大幅掺入普通牛乳却仍打着水牛奶的旗号售卖,在生产工艺上各企业水平也参差不齐,可能存在一些小型企业为降低成本简化加工环节,导致产品质量不稳定和营养严重流失,但从产品来看难以分辨其真实品质。

水牛奶行业标准与监管的缺失已成为制约行业健康发展的瓶颈,此次20款水牛奶无一纯正事件也能透露出制定全国性强制标准对于行业健康发展的紧迫性与必要性。

统一标准有利于规范市场环境,形成有序竞争格局,从消费市场层面也能清晰展示产品真实情况,避免消费者被虚假宣传误导,同时标准的出台也为监管部门提供有力执法依据,提高监管效率。尽快出台全国性强制标准无疑是让水牛奶行业摆脱乱象、回归正轨的必由之路。


图片

混淆视听,

商标使用与商业伦理

不仅是品质不纯和成分不明,部分水牛奶商品名称还存在“文字游戏”嫌疑,包括“皇氏水牛纯牛奶”“隔壁刘奶奶水牛配方纯牛奶”,其中的“皇氏水牛”和“水牛配方”仅是商标,并不代表产品就是纯正的水牛奶,对于消费市场来讲非常容易混淆商标与产品核心属性。


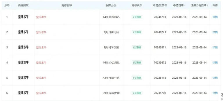
“水牛配方、皇氏水牛”竟是商标 !成了欺骗消费者的合法外衣?

皇氏集团旗下“皇氏水牛”商标

据查询,“皇氏水牛”商标由皇氏集团股份有限公司注册,注册号分类包括日化用品、科学仪器、餐饮住宿等多种,主要用于旗下水牛奶等乳制品及相关业务,虽然商标注册符合《商标法》形式要求,但产品实际配料为生牛乳与生水牛乳混合且水牛乳含量未明确标注,产品宣传与配料标注的差异容易引发争议,涉嫌误导消费者。

“水牛配方”商标也容易产生误导,在大众消费印象中“婴幼儿配方”产品的高品质、安全性形象已经深入人心,虽然该品牌水牛奶也宣称含丰富营养成分和科学钙磷比,但只是利用“配方”来打造宣传噱头,并不是真的“配方”,而且专业的配方打造需要品牌具备较强科研实力和技术创新能力。

食品饮料行业内此类商标“游戏”案例并不少见,前段时间“千禾0”“其他没了”“多半”等商标问题都引起了广泛关注,相关品牌以此精准对应消费市场对健康、天然饮食的追求,然而“商标游戏”事件发酵后,即便部分产品做到了份量增加和成分简化,仍给品牌带来了不小的负面影响。

《消费者权益保护法》中规定消费者享有知情权,经营者有义务向消费者提供商品或者服务的真实信息。各品牌的商标乱象不仅可能侵犯消费者的知情权和选择权,还违背了商业伦理中的诚信原则。

《反不正当竞争法》第七条规定,足以引人误认为是他人商品或者与他人存在特定联系的混淆行为,属于不正当竞争行为,水牛奶企业将“水牛”等作为商标突出使用误导消费者认为其产品是纯水牛奶,可能构成不正当竞争。


图片

牟取暴利?

企业成本与定价策略

生水牛乳收购价较高,有数据显示目前一公斤生水牛乳收购价在12元左右,反观普通生牛乳8月各主产省的平均收购价格在3.02元/公斤左右,水牛乳收购价约是普通荷斯坦生牛乳的3-4倍。

高价背后是高昂的生产成本,水牛养殖具有较强地域性限制了其养殖规模和水牛奶产量扩大,不仅与普通奶牛相比存栏量较低,水牛的生产周期较长、单产也比较低,数据显示水牛单体产奶量在每年2吨左右,而荷斯坦奶牛平均年产奶量可达到6-10吨;奶水牛繁殖率也比较低,而且饲料结构以鲜草、甘蔗尾叶等青饲料为主,养殖成本明显更高。

从电商平台中能够查询到常见水牛奶产品的零售价格,某品牌混合水牛奶200ml*12盒售价为47.12元,平均3.93元/盒,另一品牌混合水牛奶125ml*18盒售价为79.5元,平均4.42元/盒,据此测算混合水牛奶每公斤零售均价大约在20元-40元区间。

笔者还查询了纯水牛乳和普通纯牛奶的价格,某品牌纯水牛奶净含量130ml*12瓶售价为99.62元,平均8.3元/瓶、63.85元/公斤,某品牌普通纯牛奶200ml*24盒售价为42.62元,平均1.76元/盒、8.8元/公斤。

水牛奶原料的真实含量明显影响了产品价格,不同品牌的混合水牛乳价格差异也可能受到奶源差异、品牌定位、卖点噱头等多种因素影响。

但混合水牛乳中掺入大量普通生牛乳,其价格仍然比普通产品高出不少,依照GB 7718《食品安全国家标准 预包装食品标签通则》规定,食品配料表中的各种配料应按制造或加工食品时加入量的递减顺序一一排列,可以判断不少产品中生牛乳含量要比水牛乳还多,也就降低了产品原料成本,即便要去除水牛奶企业的生产加工成本以及研发成本、营销成本、日常管理成本等,水牛奶仍然存在较大利润空间。

水牛奶品牌通过降低成本和打造噱头来获取高额利润,再加之市场普遍存在的原料不透明情况,利用了消费市场对水牛奶的认知不足,存在利用信息不透明获取暴利的嫌疑。


图片

辨别“真假”水牛奶,

消费认知与选择困境

水牛奶市场快速发展的同时产品竞争也不断加剧,有数据显示目前活跃在赛道内的品牌不少于60个,其中部分品牌拥有自有奶源和自主生产能力,也有不少品牌依赖代工,琳琅满目的产品和难以分辨的标签加大了消费市场辨别产品真实品质的难度,包括各种口感宣传、营养卖点花样百出,还有不少品牌在标签上玩文字游戏。

市场中大部分水牛奶是生水牛乳和其他种类牛乳混配的奶源,并且普遍不标注水牛乳的添加比例,这就需要在消费决策过程中着重查看产品配料,根据《预包装食品标签通则》判断,若“生水牛乳”排在配料表前列说明该产品中水牛奶含量相对较高,反之则以普通牛奶为主,水牛奶添加量较少。


“水牛配方、皇氏水牛”竟是商标 !成了欺骗消费者的合法外衣?

商标后右上角或右下角会带有®(R标)、TM标等标记

产品名称与商标也要注意区分,一般在产品包装上,商标后右上角或右下角会带有®(R标)、TM标等标记,分别代表“注册商标”和“商标”,还需要明确商标并不代表产品真实品质,避免被“水牛”“配方”等类似情况迷惑。

产品标签可以透露出许多真实信息,《预包装食品标签通则》中明确了食品标签包括食品包装上的文字、图形、符号及一切说明物,对数字标签、配料、生产日期、保质期、规格等也作出具体规定,可以为判断产品品质提供有力依据。

在判断水牛奶品质时也可以关注其营养成分表对比不同产品的营养值,一般来说水牛奶的蛋白质、脂肪等含量要比普通牛奶更高,如果一款标注为水牛奶的产品蛋白质含量与普通牛奶相差无几,那就需要谨慎选择。还要查看其执行标准进行产品区分,虽然目前国家层面还没有统一的水牛奶标准,但也可以区分其是纯水牛奶产品还是混配奶产品。

除产品信息外,品牌性、价格定位等因素也可以作为辅助参考工具,通常知名品牌在品质上更有保障,“一分钱一分货”的俗语也不是空穴来风,但鱼龙混杂的市场中自然也有例外情况,需要仔细甄别。


图片

市场乱象仍存,

影响行业长远发展

近些年水牛奶市场逐渐发展壮大,在稀缺特点、营养丰富等卖点加持以及新茶饮市场带动下水牛奶俨然成为热门品类,有数据显示目前我国水牛奶市场整体规模约50亿元,年增速在8%-10%,此前《2023年京东牛奶趋势洞察白皮书》也显示,主要产区集中在广西、云南等地区的水牛奶,销售额同比增速达到65%。

从品牌竞争格局来看,皇氏集团、百菲乳业等品牌凭借全产业链布局和自有奶源优势占据领先地位,其余众多品牌规模相对较小,市场集中度也比较低,不过乐纯、隔壁刘奶奶等网红品牌利用线上渠道和差异化营销快速崛起,还有南国乳业、壮牛乳业等广西本土品牌依托地理位置优势深耕区域市场,在本地积累了一定知名度。

当下水牛奶市场正处于“品牌混战”时期,看似繁荣的市场背后不少品牌为了追逐短期利益打出了成分不明、模糊宣传等“擦边球”行为,此类行为会逐步侵蚀消费市场对水牛奶的信任,一旦信任崩塌负面口碑将快速传播,尤其是在社交网络发达的当下,还可能引发销量下滑、市场份额收缩等连锁反应。

品牌想要实现长期可持续发展需要明确诚信和透明是健康发展的基石,当下水牛奶行业亟须重塑消费信任,企业层面需树立正确的价值观,摒弃“赚快钱”的短视思维将精力真正投入到产品品质提升上,从奶源建设、生产能力、信息透明等方面作出改进。

行业思考:水牛奶行业似乎已经站在了发展的十字路口,部分“擦边球”行为虽然能为企业带来短期利益,但长远来看无疑是饮鸩止渴,不仅损害消费者权益还将影响整个行业健康发展。当下仍然需要政府、行业、品牌等各方共同努力,尽快制定统一标准建立起诚信、透明的市场环境,推动水牛奶行业摆脱当前鱼龙混杂的发展困境,实现从“网红”到“长红”的蜕变。

声明:

凡本站注明“《中国商人》杂志社”的稿件,其版权属于《中国商人》杂志社所有。其他媒体、网站或个人转载使用时必须注明:“文章来源:《中国商人》杂志社”。其他均转载、编译或摘编自其它媒体,转载、编译或摘编的目的在于传递更多信息,并不代表本站对其真实性负责。其他媒体、网站或个人转载使用时必须保留本站注明的文章来源。如有异议请联系:13391859179

《中国商人》杂志订阅

关于我们 公告 免责声明 广告报价 中国·商人 © 2023 版权所有

京ICP备 2023021454号-1 京公网安备 11010202010698

单位地址:北京市西城区报国寺一号    电话:010-83129228 18701368895 zhongguoshangrenzz@163.com zhongguoshangren02@163.com    违法和不良信息举报电话:010-83129228

《中国商人》杂志订阅

关于我们 公告 免责声明 广告报价

中国·商人 © 2023 版权所有

京ICP备 2023021454号-1 京公网安备 11010202010698

单位地址:北京市西城区报国寺一号    电话:010-83129228 18701368895 zhongguoshangrenzz@163.com zhongguoshangren02@163.com
违法和不良信息举报电话:010-83129228